MICROSOFT SE IGRA SA VATROM: Intrigantna ideja života posle smrti koja se neće dopasti svima! | Smartlife RS

Ukucajte željeni termin u pretragu i pritisnite ENTER

MICROSOFT SE IGRA SA VATROM: Intrigantna ideja života posle smrti koja se neće dopasti svima!

Fascinantno, ali i zastrašujuće u istom trenutku!

U poslednje dve decenije veštačka inteligencija je znatno napredovala, kao i moć mašinskog učenja koji omogučava četbotovima da zvuče gotovo kao ljudi!

Sve tehnološke kompanije razvijaju svoj AIizmeđu ostalog i Microsoft koji želi da takvu tehnologiju iskoristi u veoma zanimljive svrhe, koje nas podsećaju na epizodu serije Black Mirror.

Možda će vas zanimati:

Ova korporacija iz Redmonda smatra da se veštačka inteligencija može iskoristiti da se u potpunosti iskopira neka osoba, u takvoj meri da su već podneli patent u kom stoji da će napraviti četbota koji će moći da priča kao da je čovek, kao na primer voljena preminula osoba. Pošto je reč o patentu, nema garancije da će Microsoft tako nešto uraditi u godinama koje nam dolaze, ali svakako ovakva ideja je sama po sebi intrigantna!

U opisu patenta stoji da će kompaniji Microsoft biti potrebni "društveni podaci", odnosno slike, glasovne poruke, objave na društvenim mrežama, elektronske poruke, sve u svemu lični podaci sa kojima će napraviti četbota. Kako veštačka inteligencija nalikuje ljudskoj po tome što je potrebno da je "hranite" kako bi ona rasla, isti princip bi se sproveo i ovde, te bi četbotovi procesuirali te informacije, mnogo brže nego što to čovek može, a sve u cilju da četbot nalikuje osobi čije će mesto preuzeti, od navika, govora, do neobičnosti tih ljudi.

Jednom kada AI završi proces učenja i bude razumeo kako da razgovara kao ta osoba, mogao bi da odgovara na pitanja kao što bi taj čovek uradio. Rezultat svega ovog bi mogao da "oživi" preminule osobe, to jest da se ti četbotovi predstavljaju kao oni. Patent objašnjava da ovakvi četbotovi imaju veliki potencijal, ne samo da oponašaju mrtve.

Na primer, mogli biste ih "hraniti" informacijama o istorijskim ili fiktivnim likovima, to bi dozvolilo korisnicima da razgovaraju sa karakterima, ličnostima, osobama koje su inače nedostupne. Patent ističe da živi ljudi mogu da istreniraju ove četbotove, pa da jednom kada umru, njihovi voljeni mogu da razgovaraju sa istim.

Microsoft nije objasnio kako bi prikupljao podatke korisnika da bi se napravio četbot, pretpostavljamo da će udela u to imati i društvene mreže. Može da se vodi polemika zašto je tako nešto dobro, odnosno loše, ali svakako da će buduće generacije biti suočene sa novim, narednim "nivoom", odnosno stepenom krađe identiteta, kao i ostalim malicioznim sajber radnjama. Tu je naravno i pitanje etike, zbog čega i papa Franja upozorava na razvoj veštačke inteligencije i mašinskog učenja

Sve ovo nas podseća i na slučaj kada je jedna majka videla svoju prerano preminulu ćerku uz pomoć virtuelne realnosti.

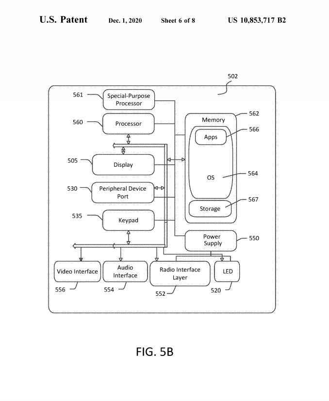
Pogledajte nacrte ovog patenta u našoj galeriji!

Šta vi mislite o ovoj temi? 

Budite bolje informisani od drugih, PREUZMITE MONDO MOBILNU APLIKACIJU.

(Mondo / Make Use Of)

Postanite deo SMARTLIFE zajednice na Viberu.

Pročitajte i ovo:

Najnovije

Uređaji

Testovi

…

Komentari 0

Vaš komentar je prosleđen moderatorskom timu i biće vidljiv nakon odobrenja.

Slanje komentara nije uspelo.

Nevalidna CAPTCHA