ZABORAVITE NA SKUPE DŽOJSTIKE KOJI SE BRZO POKVARE: Igrajte video igre uz pomoć banane! | Smartlife RS

Ukucajte željeni termin u pretragu i pritisnite ENTER

ZABORAVITE NA SKUPE DŽOJSTIKE KOJI SE BRZO POKVARE: Igrajte video igre uz pomoć banane!

Kompanija Sony priprema nešto zaista originalno!

Sudeći po najnovijim patentima kompanije Sony,oni planiraju da se kao džojstik za PlayStation konzolu koristi banana!

Patent pokazuje da će ljudi moći da koriste ovo voće ili bilo koji drugi predmet, a sve kako bi kontrolisali tu konzolu, umesto već sad tradicionalnog džojstika. 

Možda će vas zanimati:

U tim dokumentima stoji da upravo ti "tradicionalni džojstici" predstavljaju barijeru zbog "tehničke kompleksnosti", što dovodi do znatno veće cene. DualSense džojstik za konzolu PlayStation 5 košta 8.999 dinara kod nas, dok je u inostranstvu 69,99 evra. Treba uzeti u obzir da se uz većinu konzola dobija samo jedan džojstik.

Pored toga, džojstici rade na baterije, te mogu da se potroše, što dovodi do toga da moraju da se napune ukoliko želite ponovo da koristite. Takvi problemi bi mogli biti rešeni uz pomoć banane i drugog voća. Banana bi funkcionisala kao PlayStation Move kontroler, uz pomoć koga se pratila aktivnost korisnika. Taj džojstik koji je izašao prvobitno za PS3, poseduje svetla koja nadgleda kamera na PS konzoli, koji potom može da se koristi kako bi se kontrolisala igra.

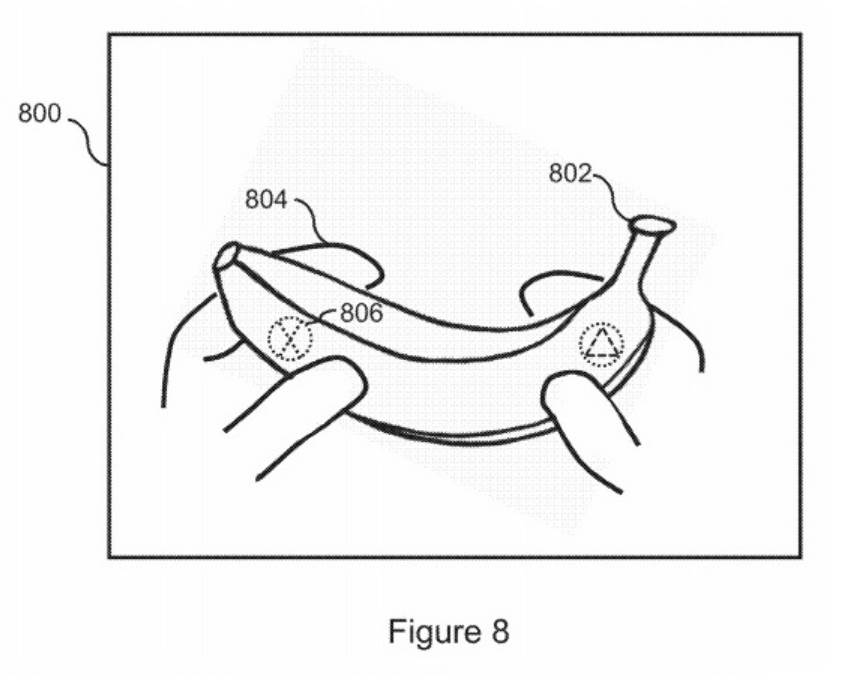
Ovaj patent sugeriše da bi na isti način konzola mogla da prati korisnika koji drži neki objekat, čak iako on ne svetli. Ti senzori će moći da raspoznaju kada korisnik pomera taj objekat, što će omogućiti istom da funkcioniše kao kontroler. Možda u skorijoj budućnosti budemo koristili banane kao pištolje u Call of Duty video igrama, ili tanjire kao volane u trkačkim igrama.

Postoji mogućnost da se ovakav koncept dodatno razradi kada je u pitanju virtuelna realnost, što pokazuju ovaj patent koji je na banane stavio dugmiće PlayStation konzole.

Ovako je izgledao PlayStation Move.

PlayStation Move
Izvor: PlayStation

Da li biste vi igrali video igre sa bananama?

Budite bolje informisani od drugih, PREUZMITE MONDO MOBILNU APLIKACIJU.

Pročitajte i ovo:

Najnovije

Uređaji

Testovi

…

Komentari 0

Vaš komentar je prosleđen moderatorskom timu i biće vidljiv nakon odobrenja.

Slanje komentara nije uspelo.

Nevalidna CAPTCHA