Smartlife
  • Naslovna
  • Najnovije
  • Vesti
    • Telefoni
    • Uređaji
    • Aplikacije
    • Platforme
    • AI
    • Bezbednost
    • Mobilnost
    • Nauka
    • Inovacije
    • Gaming
    • Kriptovalute
    Još
  • Saveti
  • Testovi
  • Digisvet
  • Biznis
Još
KategorijeOstalo
Nove tehnologije iz Samsung galaksije: Stižu dva inovativna rešenja koja nijedan telefon do sada nije imao
2
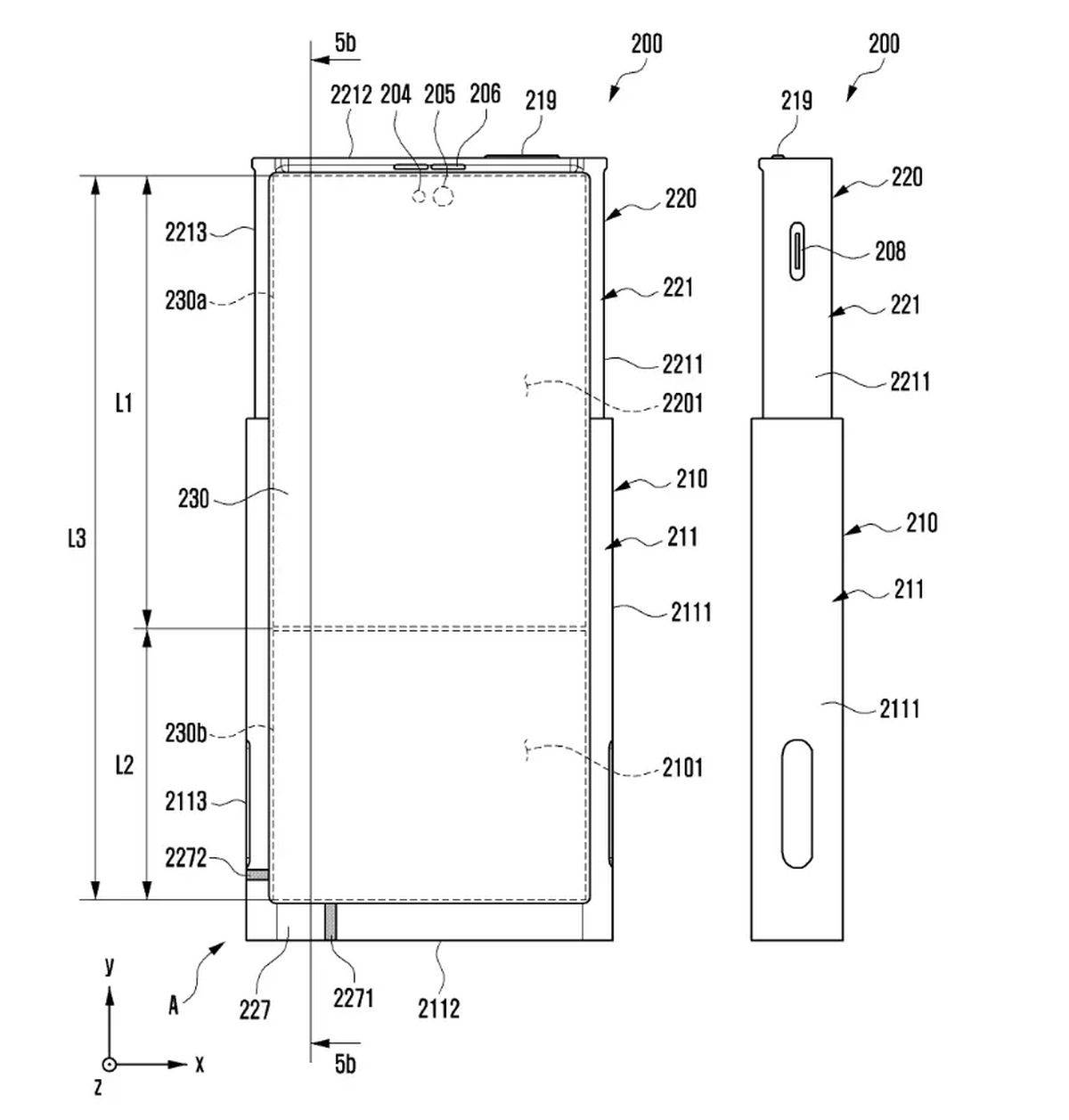
Samsung _ telefona sa rolabilnim ekranom i senzorom za merenje kvaliteta vazduha _ Foto pigtou.com @xleaks7.jpg
1 / 2
pigtou.com / @xleaks7
pigtou.com / @xleaks7 Patent Samsung telefona sa rolabilnim ekranom i senzorom za merenje kvaliteta vazduha
Samsung _ telefona sa rolabilnim ekranom i senzorom za merenje kvaliteta vazduha _ Foto GizChina.jpg
2 / 2
GizChina
GizChina Patent Samsung telefona sa rolabilnim ekranom i senzorom za merenje kvaliteta vazduha
2
Smartlife
  • Naslovna
  • Vesti
  • Saveti
  • Testovi
  • Biznis
  • Marketing
  • Impresum
  • Kontakt
  • Pravila i uslovi korišćenja
  • Politika o kolačićima
  • Politika privatnosti
  • Arhiva
© 2026. MONDO, Inc. Sva prava zadržana.