Smartlife
  • Naslovna
  • Najnovije
  • Vesti
    • Telefoni
    • Uređaji
    • Aplikacije
    • Platforme
    • AI
    • Bezbednost
    • Mobilnost
    • Nauka
    • Inovacije
    • Gaming
    • Kriptovalute
    Još
  • Saveti
  • Testovi
  • Digisvet
  • Biznis
Još
KategorijeOstalo
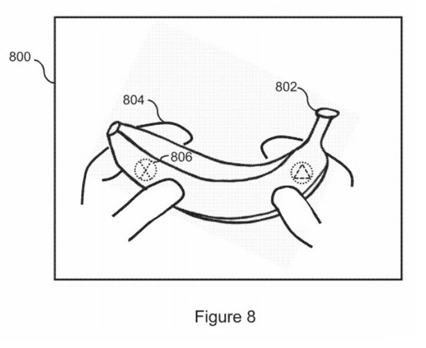
ZABORAVITE NA SKUPE DŽOJSTIKE KOJI SE BRZO POKVARE: Igrajte video igre uz pomoć banane!
Komentariši
playstation 5 džojstik dualsense banana patent Sony
1 / 4
MONDO / Twitter @_AlexKyaw
MONDO / Twitter @_AlexKyaw 
playstation 5 džojstik dualsense banana patent Sony
2 / 4
MONDO / Sony, Mondo / U.S. Patent and Trademark Office
MONDO / Sony, Mondo / U.S. Patent and Trademark Office 
playstation 5 džojstik dualsense banana patent Sony
3 / 4
MONDO / Sony, Mondo / U.S. Patent and Trademark Office
MONDO / Sony, Mondo / U.S. Patent and Trademark Office 
playstation 5 džojstik dualsense banana patent Sony
4 / 4
MONDO / Sony, Mondo / U.S. Patent and Trademark Office
MONDO / Sony, Mondo / U.S. Patent and Trademark Office 
Komentariši
Smartlife
  • Naslovna
  • Vesti
  • Saveti
  • Testovi
  • Biznis
  • Marketing
  • Impresum
  • Kontakt
  • Pravila i uslovi korišćenja
  • Politika o kolačićima
  • Politika privatnosti
  • Arhiva
© 2026. MONDO, Inc. Sva prava zadržana.