Najnoviji Samsungov patent pametnog telefona istovremeno insistira na inovativnosti novog tipa ekrana, kao i na naprednom senzoru koji bi mogao da dovede do nastanka potpuno nove kategorije ekološki orjentisanih uređaja
Kompnaija Samsung nedavno je registrovala patent telefona koji donosi dva potpuno nova i inovativna rešenja, kakva do sada nismo imali prilike da vidimo kod pametnih telefona: fleksibilnim ekranom koji se rola i senzorom za merenje kvaliteta vazduha.
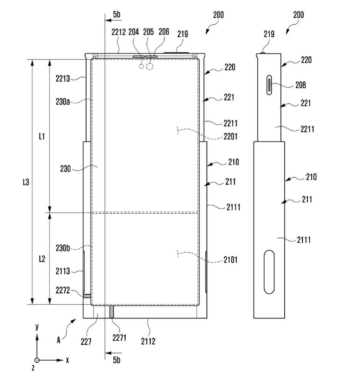
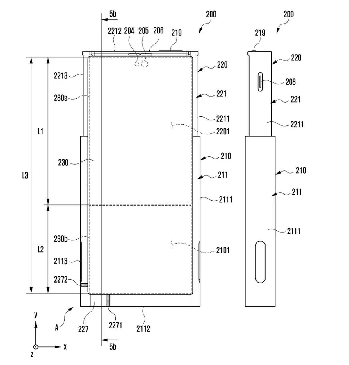
Glavna odlika uređaja je klizna konstrukcija koja korisniku omogućava da povećava veličinu ekrana, a time i dužinu telefona. Fleksibilni ekran se namotava unutar kućišta u donjem delu uređaja, što ga čini kompaktnijim i jednostavnijim za nošenje.
Mehanizam za otvaranje i zatvaranje telefona, odnosno odmotavanje i namotavanje ekrana, aktivira se kliznim pokretom kućišta. Time se istovremeno obezbeđuje optimalan dotok vazduha i rad senzora za merenje njegovog kvaliteta.
Ideja stara pet godina
Inače, svoj prvi patent "rolabilnog" ekrana južnokorejska kompanija je prikazala još sredinom 2019. godine. Na tadašnjim tehničkim crtežima mogao se videti Samsung telefon koji u svom širem donjem delu skriva "umotani" ekran koji se razvlači.
Korisna površina displeja se tima povećava za oko 40 odsto, a on dobija potpuno novi odnos stranica, za šta su iz Samsunga tada tvrdili da će to inovativno rešenje dati nove mogućnosti upotrebe telefonima kod kojih bude primenjeno.
Slično rešenje je, pre nekih pet, šest, godina predstavio i LG kod televizora sa ekranima koji se mogu umotati u rolnu. I ta kompanija je tada najavila i svoj prvi displej za telefone na namotavanje. LG smartfon sa "rolabilnim" ekranom, međutim, nije odmakao dalje od prototipa, a ta kompanija je 2021. godine prestala da proizvodi telefone.
Svetlost meri vazduh
Najnoviji Samsungov koncept pametnog telefona istovremeno insistira na inovativnosti koliko novog tipa ekrana, toliko, a možda i više, na rešenju za merenje kvaliteta vazduha.
Telefon ima poseban kanal koji usmerava dotok vazduha do senzora i obezbeđuje da merenje bude brzo i precizno. Njegov dizajn omogućava da senzor brže reguje na nagle promene kvaliteta vazduha i da pravovremeno obavesti korisnika o njima.
Senzor za merenje kvaliteta vazduha sastoji se od senzora blizine, procesora i memorije. Senzor blizine ima sopstveni izvor svetlosti i svetlosni senzor. Izvor emituje svetlost koja se, potom, odbija od čestice u vazduhu, nakon čega senzor meri intenzitet odbijene svetlosti.
 
 Nova kategorija uređaja na pomolu?
Na kraju, procesor upoređuje memorisane vrednosti kvaliteta vazduha sa intenzitetom vrednosti odbijenog svetla i dobija trenutnu vrednost kvaliteta vazduha koju prikazuje na ekranu.
Ovaj inovativni dodatak koji meri kvalitet vazduha u realnom vremenu odgovor je južnokorejske kompanije na sve veću globalnu zabrinutost za zagađenost i kvalitet vazduha, kao i potrebu za adekvatnim i pristupačnim uređajem za praćenje kvaliteta vazduha.
Odobravanje ovog patenta predstavlja značajan korak ka zelenijoj tehnologiji, što u Samsungu vide ne samo kao praktično rešenje za praćenje kvaliteta vazduha, već i kao inovaciju koja potencijalno može dovesti do nastanka potpuno nove kategorije ekološki orjentisanih uređaja.
BONUS VIDEO:
Postanite deo SMARTLIFE zajednice na Viberu.
 
			 
										 
										 
										 
										 
							 
							 
							 
							 
							 
							 
							 
							 
							 
							 
							 
							 
							 
							 
							 
         
                                 
                                 
                                 
                                 
         
                                 
                                 
                                 
                                 
                                 
                                